欢迎登录赣金网     今天是:2025年07月07日 星期一
站点—头部-广告位
当前位置:首页 >> 财经资讯>> 正文内容

以区块链+茶骗3亿的普银币仍在交易 法人疑似已甩锅

来源:国际金融报    作者:    发布时间:2018年05月18日

    国际金融报记者 克己
 
  为“普银币”,由深圳普银区块链集团有限公司通过其官网和收购的“趣钱网”P2P平台发行。
 
  一则警方通报,将数千人的“发财梦”彻底打碎。
 
  近日,深圳南山警方召开新闻通气会,通报了一起以发行虚拟货币为名、行诈骗之实的集资诈骗案。涉案虚拟货币为“普银币”,由深圳普银区块链集团有限公司(下称“普银公司”)通过其官网和收购的“趣钱网”P2P平台发行。
 
  据警方通报,目前“普银币”受害者超3000人,涉案金额约3.07亿元,最高单个损失约300万元。警方已于3月28日成功抓获犯罪嫌疑人6名,目前正在追讨其他犯罪嫌疑人,追缴赃款。
 
普银公司究竟用什么办法蒙蔽了投资人的双眼?
  普银公司究竟用什么办法蒙蔽了投资人的双眼?
 
  法人代表混迹于区块链圈
 
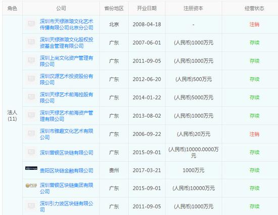
  工商信息显示,普银公司成立于2015年,法定代表人是叶强,经营范围主要包括区块链技术的开发与应用、茶叶技术的开发与销售等。
 
  在区块链圈,叶强有一定知名度,《国际金融报》记者从多位区块链业内知名人士处了解到,他们都曾与之有过不同程度的接触与合作。
 
  天眼查信息显示,叶强还与其他多家“区块链”公司相关,其也是贵阳区块链金融有限公司、深圳引力波区块链有限公司的法人。而贵阳区块链金融有限公司的大股东——深圳丰汇国际彩宝有限公司,也是普银公司的股东。
 
  叶强还曾以引力波(Absorb)开放性数字资产交易平台项目创始人的身份接受了媒体的专访。在此次专访中,叶强提到,引力波(Absorb)是一个开放性的数字资产交易平台,致力于构建数字资产流转生态体系,将交易平台、交易主体、第三方机构、政府监管、金融配套等生态单元结合在一起,塑造完整的ICO流程,实现对ICO进程的监督与管理。同时,引力波通过与各方协作,把人工智能系统、报税系统、清算系统等逐步融合到交易系统当中,与央行、证监会、金融办等监管机构合作,实现基于大数据系统的实时监控,让引力波成为区块链研发和应用生态圈的试验田。
 
  除此之外,2017年7月29日,叶强还以贵阳区块链创新研究院执行院长的身份,与ico coin 创始人杨林科、北美区块链协会会长兰波等在上海共同发起中国区块链产业沙盒自律联盟。
 
  目前,引力波还处于正常运营状态;而中国区块链产业沙盒自律联盟近期已无音讯。
 
  《国际金融报》记者拨打了引力波的客服电话。接电话的人士自称与叶强走得很近。该人士告诉记者,叶强目前不在内地,其奔走于新加坡和中国香港之间,在忙关于社区平台搭建的事情。
 
  普银公司出事了,法人代表叶强不受影响?
 
  对于记者的疑惑,该人士强调,事实上,叶强与普银公司只是“合同雇佣关系”。据该人士称,叶强主要负责技术部分,更多担任的是顾问角色,而普银公司高管主要负责市场营销。叶强在公司中并无太多话语权,更别说碰到核心的资金。
 
  “早在2017年1月,叶强就已经与普银公司解除了劳动合同,自己出来单干了。”上述人士表示。
 
  但是,叶强至今仍担任普银公司的法人,这又如何解释呢?对此,该人士表示,“具体情况并不清楚。”
 
  根据通报,今年3月28日,南山区警方对普银区块链集团有限公司涉嫌集资诈骗案收网,成功抓获潘某东、熊某龙等犯罪嫌疑人6名。目前,警方正在追踪其他犯罪嫌疑人及追缴赃款,为受害人最大程度挽回损失。警方也督促其他在逃犯罪嫌疑人尽快投案自首,主动退赃,争取从宽处理。
 
  或许,这一切至少要等到叶强本人回国,才能解释清楚。
 
  恶意操纵普银币价格套利
 
  法人代表叶强的确混迹于区块链圈,但普银公司发行的“普银币”,就真的因此与区块链相关吗?
 
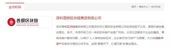
  目前,普银公司的官网已无法打开。而趣钱网上至今还挂着合作机构普银公司的简介:其号称是国内首批集合理论、技术、市场开拓三位一体的区块链产业推广机构。
 
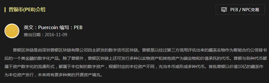
  经警方调查发现,普银公司通过互联网、社交软件等平台。对外宣称其发布的“普洱币”(后更名为普银币),是一种以百亿藏茶作为抵押的虚拟货币,投资人所持有的每一枚普银币都有对等实物藏茶作为抵押。投资人可将普银币放到聚币网(虚拟交易平台)上买卖,以此赚取差价。
 
  但据一位币圈人士对《国际金融报》记者介绍,在币圈,有三种币很吸引人却又“碰不得”,即“山寨币”、“空气币”和“传销币”,它们是是价格波动最大、风险最大的币种。而“普洱币”就是一种“空气币”。
 
  该币圈人士解释称,所谓“空气币”的特征,就是不仅可能无限增发,而且有可能并未实际应用到区块链技术,连白皮书都没有,完全没有价值。
 
  警方的通报则更进一步揭露了普银币的诈骗手段。通报显示,经侦查,数字货币价格波动是由普银公司使用投资人的投资款进行操作,一度将普银币的价格从0.5元拉升至10元。而公司为吸引更多投资人,在发布会上承诺将投资人持有的普银币通过两次拆分(一拆十),使投资人持有的普银币扩大100倍,并宣称补充100亿元的藏茶作为支撑。而实际上,只有少量的库存藏茶。当大量投资人进场之后,该公司通过恶意操纵普银币价格走势、不断套现,导致投资人手中普银币毫无价值,损失惨重。
 
  实际上,早在2017年11月,普银公司就曾因发布违法广告被罚。具体来看,普银公司发布的招商投资广告中含有“普洱币的创世区块链由丰汇国际集团现有30亿的藏茶作为本位资产”等不实内容,同时利用网站发布含有对未来收益作出保证性承诺的招商投资广告,违反了《广告法》第四条、第二十五条的规定。因此,深圳市市场稽查局对普银公司作出行政处罚,责令其停止发布违法广告,在相应范围内消除影响,并处罚款合计120万元。
 
 发币方与平台存勾兑可能
 
 据上述币圈人士所言,其实像普银公司这样的操作手法在ICO市场中很常见。
 
  然而,2017年9月4日,中国人民银行等七部委联合发布《关于防范代币发行融资风险的公告》,明确将代币发行融资定性为是一种未经批准非法公开融资的行为,涉嫌非法发售代币票券、非法发行证券以及非法集资、金融诈骗、传销等违法犯罪活动。之后,国内三大虚拟货币交易平台比特币中国、火币网、OKcoin币行的所有虚拟货币交易业务相继被叫停。
 
  根据通告,普银公司是将普银币放到聚币网上进行买卖的。那么,聚币网现在还安好吗?
 
  《国际金融报》记者登录聚币网发现,聚币网的运营主体为北京聚币科技有限公司。记者多次拨打北京聚币科技有限公司工商信息中登记的联系方式始终未接通。
 
  记者发现,聚币网实际上已停止运营,但值得注意的是,在官网首页有提示“继续交易请去www.coinegg.im”。
 
  据币圈人士称,这应该是聚币网的海外版站点。目前由于国内监管,所有的数字资产交易平台都将服务器移到了国外,规避法律风险,在国内的团队仅是以“外包技术团队”的形式存在。“只要服务器不在国内,数字资产交易平台就可以继续运营”。
 
  那么,发币是可以在任意平台上进行吗?对此,上述币圈人士币只是讳莫如深地表示:“币圈的水很深”。
 
  “现在监管越来越严,所以发币成本也水涨船高。目前大约在2000万元左右,一条龙服务,包括平台发币和做庄的钱;也有更加知名的平台要价会到5000万元。所以也不排除发币方和数字资产交易平台勾兑的可能。”该币圈人士称。
 
  “普银币”仍在龙币网交易
 
  《国际金融报》记者还发现,虽然“普银币”已经正式被警方通报欺诈,但在一家名为“龙币网”的货币交易平台上,仍处于交易状态。
 
  《国际金融报》记者以投资者身份致电龙币网客服电话,工作人员称,目前平台中显示的数字货币均处于正常交易状态。
 
  根据“龙币网”交易数据,截至5月17日16:00,普银币价格为0.0297元。
 
  而当记者提出目前国内监管已经叫停数字货币资产在境内的交易时,客服人员表示,“目前我们平台的服务器仍在国内,但具体情况并不清楚,可以咨询平台运营方广西讯丰数字资产管理有限公司。”
 
  但通过广西讯丰数字资产管理有限公司在工商信息中登记的联系方式,记者未能与其取得联系。

分享:

来源:国际金融报

责任编辑:张春明

[版权与免责声明]
主办:赣金共赢(赣州)传媒有限公司
Copyright© 2009-2012 www.gzjrw.com.cn All rights reserved 赣金网 版权所有.
请使用IE6.0以上版本或将浏览器设置为兼容模式浏览本网站
赣ICP备2025067349号-1 赣公网安备36070202001187号 技术支持:红浩网络